在我的日常生活中,很多人都聽說過地基和基礎(chǔ),那么地基和基礎(chǔ)的區(qū)別有哪些呢?地基和基礎(chǔ)和的作用是什么?下面和暖氣金旗艦小編一起來了解一下吧。
暖氣講解地基和基礎(chǔ)區(qū)別有哪些?地基和基礎(chǔ)和作用是什么?

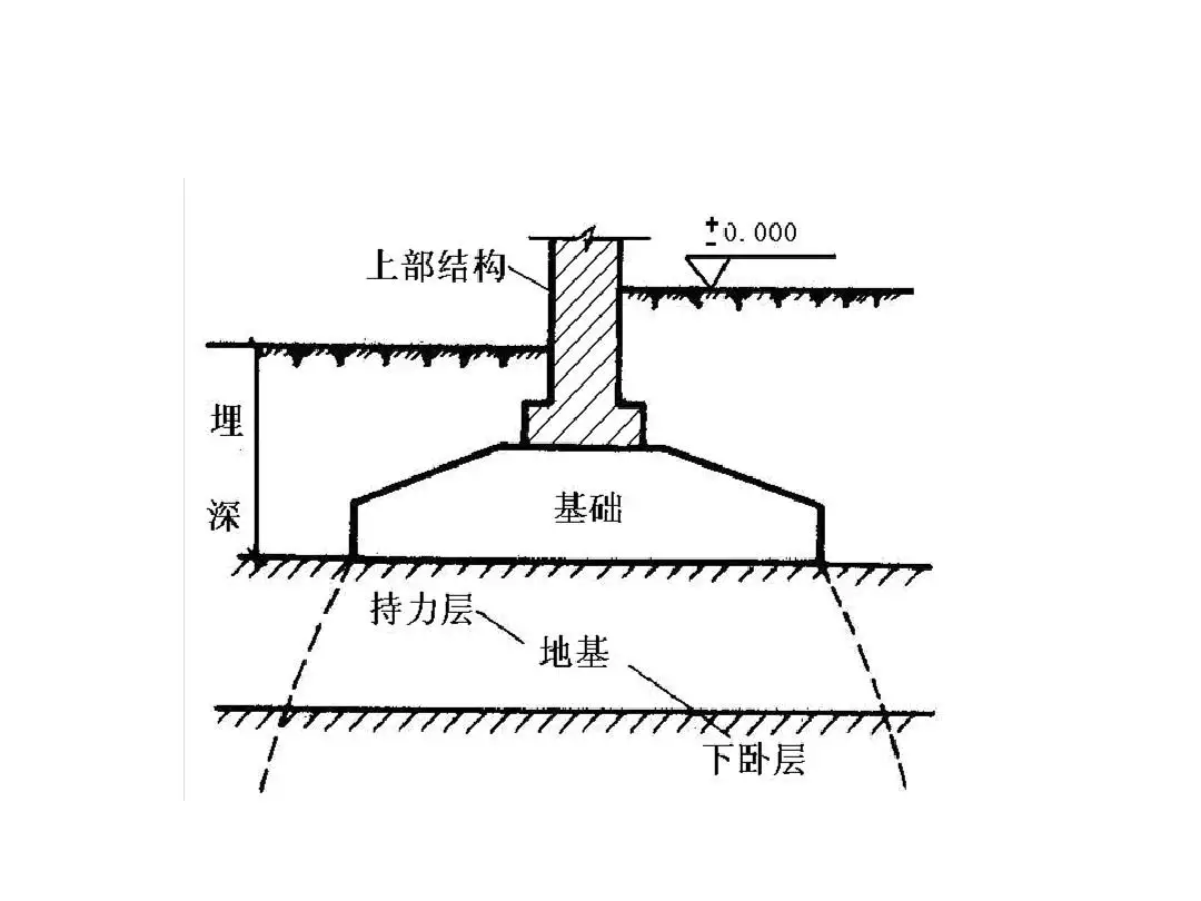
暖氣講解地基和基礎(chǔ)的區(qū)別有哪些
1、地基是承載著建筑的所有重量包括基礎(chǔ)重量,而基礎(chǔ)屬于建筑承載的一部分,通常位于地面以下的承載。
2、地基一般由泥土石塊一些材料組成的,而基礎(chǔ)一般都是由鋼筋混凝土澆灌而成的,它作為一個沉重的構(gòu)建,而地基作為沉重的主件。
3、地基支撐著基礎(chǔ),它能夠承載著土壤為依托,將基礎(chǔ)的力分散到各個地方,而基礎(chǔ)是支撐著構(gòu)建物,基本上是負責承載地面上的構(gòu)建物,同時也將地面下的承載物做到一個均勻傳輸?shù)牧Φ馈?/p>
4、地基主要承載的是土體,而基礎(chǔ)承載的是建筑的其他一些地基以下的構(gòu)建沉重。
暖氣講解地基和基礎(chǔ)和的作用是什么
1、地基具有很大的支撐承受力,它可以將所有的力往外擴散到每一個基礎(chǔ)上面,然后地底下的力將由基礎(chǔ)進行支撐,地基和基礎(chǔ)對于山區(qū)丘陵以及沙灘等地方都有著重要的建筑作用。
2、在工業(yè)建筑,鋼結(jié)構(gòu)建筑以及廠房建筑和運輸使用過程中,如果使用地基和基礎(chǔ)做成的路面,那么地面的承載力也會非常的好,雨水的天氣或者是炎熱的天氣,都不會受到熱脹冷縮的影響,地基是比較穩(wěn)的。
關(guān)于地基和基礎(chǔ)的區(qū)別有哪些,地基和基礎(chǔ)和的作用是什么就介紹到這里了。




銅鋁復合暖氣片
鋼制暖氣片
衛(wèi)浴暖氣片
京公網(wǎng)安備 11011502003490號


